Press release
Buoyancy Engine Open Sourced: Air, Water, Gravity Power
PRESS RELEASEOPEN-SOURCE TECHNOLOGY
Wednesday, October 1, 2025
Archimedes Submersible Energy Apparatus (ASEA)
A Continuous Energy System Powered by Air, Water and Gravity
A Simplified Explanation
By Archimedes' principle, an object in water experiences an upward buoyant force equal to the weight of displaced water.
I like to think of Archimedes's principle as gravity in reverse. A sort of "anti-gravity" but in the water. The ASEA takes advantage of this concept by turning the force of gravity (in both directions) into rotational energy.
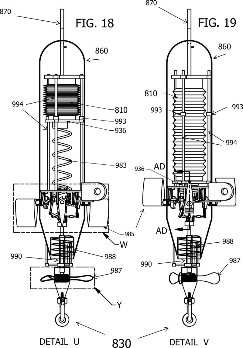
The ASEA can operate in a system of three modules. Each module can consist of two submersibles (or submersible clusters) on opposite protocols. Each submersible contains a bellows (like lungs) that can expand or contract based on the motion of fluid over the hull and in conjunction with a snorkel tube routed to a surface power transfer assembly.
The two submersibles in a module can operate on opposite protocols, meaning as one rises the other descends. The direction of travel depends on the state of the bellows. An inflated bellows will cause the submersible to ascend. A de-flatted bellows will cause the submersible to descend.
When one submersible is rising and the alternate submersible is descending by the force of gravity, the module is in an energetic state. At the end of module one's energetic state (when the module one has reached the surface/bottom) energy can be utilized from modules two and three (while in their energetic state) to change module one back to an energetic state.
In this way the modules can take turns, two modules can provide power to change the state of a third module in a continuous rotation. In this way a common central shaft can rotate ultimately powered by the force of gravity. This rotation can be utilized for any purpose including electricity production.
This exchange and collaboration of energetic states can be accomplished by a power transfer assembly which can include six forward-neutral-reverse gears (one per submersible / two per module), three gear shifters (one per module), causing a common central shaft (one per ASEA), to continuously rotate.
Why I am open sourcing this technology
For several reasons. One of those reasons is to keep this technology from getting "lost" as many similar technologies have in the past.
How Can You Help?
Save/print this disclosure, save a hard copy. Forward it on. If you represent a company with sufficient resources, then build it, test it, use it. If you wish to discuss a business collaboration, my contact information is below.
I am actively seeking funding to develop technologies specifically designed to work with the ASEA. I will post a GoFundMe (or similar service) on my X and LinkedIn accounts for anyone interested in accelerating these projects.
Michael Newgent
Founder / Perpetual Hydro LLC
PO Box 1761
Kapaa, HI 96746
info@perpetualhydro.energy
Download the Full Press Release in PDF:
linkedin.com/in/michael-newgent-9a0b03350
Full Press Release in PDF:
Press Release Intro
Provisional Patent 63/880,634
Engineering / Formulas
Bibliography / Sources
Open-Source License
Perpetual Hydro LLC
PO Box 1761
Kapaa, HI 96746
Perpetual Hydro LLC, where we specialize in novel fluid mechanical and energy systems; *wave energy *ocean energy *wind energy *mechanical batteries *compressor technologies *hydroelectric *hybrid energy system. Powering the world with Air and Water
This release was published on openPR.
Permanent link to this press release:
Copy
Please set a link in the press area of your homepage to this press release on openPR. openPR disclaims liability for any content contained in this release.
You can edit or delete your press release Buoyancy Engine Open Sourced: Air, Water, Gravity Power here
News-ID: 4206273 • Views: …
More Releases for ASEA
ASEA Global Unveils Comprehensive Wellness Solutions with Emphasis on REDOXGold
Pioneering Cellular Health through Innovative Products
Thiru Marimuthu Presenting the ASEA Global [https://liveempowered.myasealive.com/], a leader in cellular health innovation, offers a range of products designed to enhance overall well-being. Their offerings include the ASEA Redox Supplement, which delivers active redox signaling molecules to support cellular health and function; the RENU Advanced skincare system, leveraging redox technology to improve skin appearance and health; and specialized supplements like REDOXMind, REDOXMood, and REDOXEnergy, each…
Energy Management Market is Booming Worldwide | Siemens, Schneider Electric, Hon …
Energy Management Market is Booming Worldwide | Siemens, Schneider Electric, Honeywell, Asea Brown Boveri, Toshiba
Advance Market Analytics published a new research publication on "Global Energy Management Market Insights, to 2028" with 232 pages and enriched with self-explained Tables and charts in presentable format. In the Study, you will find new evolving Trends, Drivers, Restraints, Opportunities generated by targeting market-associated stakeholders. The growth of the Energy Management market was mainly driven…
Agriculture Baler Market 2023-2030 Shows Unbelievable Growth | Top Companies -As …
Global Agriculture Baler Competitive Analysis - Forecast and Historical Market Analysis by Key Market Segments
The research report on the global Agriculture Baler market encompasses a wide-scope analysis of various macro-economic and micro economic factors moving the industry presentation on a regional and global level. The examination report offers a detailed outline of the industry chain components including suppliers, customers, manufacturers, and providers. Moreover, the report intends to offer significant highlights…
Global Magneto Optic Current Transformer Market 2020 Business Strategies – Ase …
The market report titled “Magneto Optic Current Transformer Market: Global Industry Analysis, Size, Share, Growth, Trends, and Forecasts 2016–2024” and published by Zion Market Research will put forth a systematizedevaluation of the vital facets of the global Magneto Optic Current Transformer market. The report willfunction as a medium for the better assessment of the existing and future situations of the global market. It will be offering a 360-degree framework of…
Global Magneto Optic Current Transformer Market 2020 Business Strategies – Ase …
The Zion Market Research added a new report “Magneto Optic Current Transformer Market: Global Industry Analysis, Size, Share, Growth, Trends, and Forecasts 2016–2024” in its database, which provides an expert and in-depth analysis of key business trends and future market development prospects, key drivers and restraints, profiles of major market players, segmentation and forecasting.
Magneto Optic Current Transformer Market Market research report which provides an in-depth examination of the market scenario…
Virtual Office Market to Witness Robust Growth | Young Living Essential Oils, AS …
The ‘ Virtual Office market’ research report added by Report Ocean, is an in-depth analysis of the latest developments, market size, status, upcoming technologies, industry drivers, challenges, regulatory policies, with key company profiles and strategies of players. The research study provides market overview, Virtual Office market definition, regional market opportunity, sales and revenue by region, manufacturing cost analysis, Industrial Chain, market effect factors analysis, Virtual Office market size forecast, market…
